gamesinnews 第50页
-
Twitch viewership grows 20% year-over-year for September
People watched 1.7 billion hours of video on Twitch in September, according...
news 发布于 2025-09-12 阅读(381) -
Games for Change launches Game Exchange for young developers
Today the Games for Change organization announced that it has launched Game...
news 发布于 2025-09-12 阅读(506) -
Koch Media acquires Splatter Connect
Publishing firm Koch Media announced today that it has acquired marketing an...
news 发布于 2025-09-12 阅读(473) -
Tax breaks and talent are attracting AAA back to Britain, say trade bodies
UK games industry trade bodies are optimistic about more AAA games firms set...
news 发布于 2025-09-12 阅读(487) -
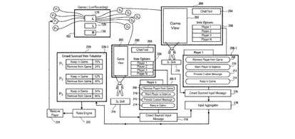
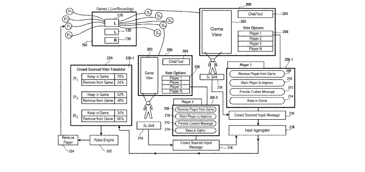
Sony patent would let viewers vote or pay to remove players from games
The US Patent and Trademark Office has approved a Sony patent which would gi...
news 发布于 2025-09-12 阅读(462) -
God of War coming to PC in 2022
Santa Monica Studio announced that its 2018 flagship title, God of War, will...
news 发布于 2025-09-12 阅读(486) -
Piepacker raises $12m in funding round
Social gaming site Piepacker has raised $12 million in a Series A funding ro...
news 发布于 2025-09-12 阅读(379) -
InGAME and Nesta launch $69,000 game dev contest for healthier neighborhoods
Today Dundee-based R&D center InGAME and with non-profit tech agency Nesta l...
news 发布于 2025-09-12 阅读(400) -
FIFA 22 UK sales were 77% digital | UK Monthly Charts
FIFA 22 dominated the UK September charts after one week on shelves, with la...
news 发布于 2025-09-12 阅读(323) -
NetEase acquires Grasshopper Manufacture
Developer Grasshopper Manufacture has been acquired by NetEase. The agreem...
news 发布于 2025-09-12 阅读(359)










